
1 035 RSD
Motorne testere
Ručna Testera 🪚🔨 Novo Odlična ručna testera sa metalnim ramom 🛠️
Ručna Testera 🪚🔨 Novo Odlična ručna testera sa metalnim ramom 🛠️ Idealna za precizno sečenje drvenih i metalnih materijala 🌳🔩+381 62 5024xx
Niš
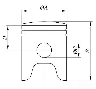
Klip set Meteor – za motorne testere (2T)
Opis proizvoda:
- Originalni Meteor klip italijanske proizvodnje za dvotaktne motore testera.
- U setu: klip, klipni prsten(ovi), osovinica (bolcn) i sigurnosni segeri.
- Materijal: visokokvalitetna aluminijumska legura sa preciznom obradom i tvrdom anodizacijom na kruni za bolju otpornost.
- Konstrukcija sa prozorima za optimizovan protok mešavine i bolje podmazivanje.
- Profil klipa i prstenova obezbeđuje dobro dihtovanje, stabilnu kompresiju i smanjeno trenje.
- Odgovara cilindrima za dvotaktne agregate testera; proveriti tačne mere pre ugradnje (prečnik A klipa, visinu B, prečnik C bolcna, ukupnu visinu D – prema tehničkom crtežu na fotografiji).
- Kompatibilnost: namenjeno modelima koji koriste Meteor specifikacije istih dimenzija (npr. popularne profesionalne i hobi testere – uporediti kod klipa/cilindra).
Prednosti:
- Precizne tolerancije i balans za mirniji rad i duži vek motora.
- Klipni prsten(ovi) od legure otporne na habanje – zadržavaju kompresiju i lakše startovanje.
- Osovinica brušena i kaljena za smanjeno trošenje klipnjače.
Napomena:
- Pre ugradnje izmeriti cilindar i uporediti sa oznakom prečnika na klipu.
- Preporučena profesionalna ugradnja i pravilno dotrerivanje (razrada) nakon montaže.
- Koristiti odgovarajući odnos ulja i goriva i čist filter vazduha za maksimalne performanse.
10 000 RSD
Poslednji put viđen(a) 15.04.26

1 035 RSD
Motorne testere
Ručna Testera 🪚🔨 Novo Odlična ručna testera sa metalnim ramom 🛠️
Ručna Testera 🪚🔨 Novo Odlična ručna testera sa metalnim ramom 🛠️ Idealna za precizno sečenje drvenih i metalnih materijala 🌳🔩
180 RSD
Motorne testere
Zaptivka glave cilindra (bakrom ojačana) - Tip: zaptivka glave
Zaptivka glave cilindra (bakrom ojačana) - Tip: zaptivka glave cilindra za dvotaktne motore - Konstrukcija: kombinacija čeličnog/pritisno sečenog materijala sa bakarnim prstenom za poboljšano diht...
990 RSD
Motorne testere
Testera i busilica 2u1 149. testera i busilica 2u1 149 čarobna knjiga
Testera i busilica 2u1 149. testera i busilica 2u1 149 čarobna knjiga sa 3d interkativnim bubama će oduševiti svakog bebca, sjajna knjiga osim zabave pomaže oko razvoju. savršena edukativna igračka...
Dogovor
Motorne testere
Motorna Testera na Benzin 4.9 KS 🌲 Idealna za vrtlarstvo i cijepanje
Motorna Testera na Benzin 4.9 KS 🌲 Idealna za vrtlarstvo i cijepanje drva, ova benzinska lančana pila olakšava posao zahvaljujući svojoj snazi i udobnom dizajnu. Snažna i efikasna, pogodna je za ra...
110 EUR
Motorne testere
Makita grickalica za lim, seče lim po nacrtanoj liniji. Debljina lima
Makita grickalica za lim, seče lim po nacrtanoj liniji. Debljina lima: do 1.2 mm inox, a crni lim do 1.6 mm ...
8 200 RSD
Motorne testere
Klip set za motor – FIN177 PC05 (Italy) - Potpuni set klipa sa
Klip set za motor – FIN177 PC05 (Italy) - Potpuni set klipa sa karikama - Oznaka/model: FIN177 PC05 (vidljivo na pakovanju) - Proizvođač: Italy - U kompletu: klip, klipne karike (prikazane na foto...
4 599 RSD
Motorne testere
Ručna Aku Testera - Akcija 🔧 Mini aku testera sa punjivom baterijom
Ručna Aku Testera - Akcija 🔧 Mini aku testera sa punjivom baterijom, savršena za brzo i efikasno sečenje u svim uslovima. Laka i praktična za nošenje, idealna za male projekte ili radove u prirodi....
2 000 RSD
Motorne testere
Vodilica i lanac za motorne testere – LOW KICKBACK - Komplet
Vodilica i lanac za motorne testere – LOW KICKBACK - Komplet: vodilica + lanac - Dizajn sa smanjenim povratnim udarom (Low Kickback) za sigurnije i stabilnije sečenje - Dužina vodilice: 16" (40 cm...
1 730 RSD
Motorne testere
Zavojnica paljenja (bobina) za motorne testere – univerzalni tip -
Zavojnica paljenja (bobina) za motorne testere – univerzalni tip - Elektronski modul paljenja sa kablom i kapom svećice - Dimenzije tela: 54 mm (visina) x 48 mm (širina); prečnik montažne rupe 4,3...
2 015 RSD
Motorne testere
Plastični poklopci ventilatora i kućište usisnika za motor – set 2
Plastični poklopci ventilatora i kućište usisnika za motor – set 2 dela - Namenjeno za dvotaktne benzinske motore malih mašina (kosačice, trimere, motorne testere i slične uređaje) sa centrifugaln...
2 300 RSD
Motorne testere
Karburator za motorne testere – kompatibilan sa više modela - Tip
Karburator za motorne testere – kompatibilan sa više modela - Tip: membranski karburator za dvotaktne benzinske motore - Namenjen za motorne testere (univerzalni tip, standardni priključci za crev...
1 000 RSD
Motorne testere
Testera sa vidijom za sečenje drva, 210 mm, 30 rupa, 40 zuba – GEKO
Testera sa vidijom za sečenje drva, 210 mm, 30 rupa, 40 zuba – GEKO Testera sa vidijom, dimenzija 210 mm, sa 30 rupa i 40 zuba, dizajnirana za efikasno i precizno sečenje drva. Izuzetno izdržljiva ...
550 RSD
Motorne testere
Testera sa vidijom za sečenje drveta – 180 mm, 22 rupa, 24 zuba Cena
Testera sa vidijom za sečenje drveta – 180 mm, 22 rupa, 24 zuba Cena: (fiksno) 🔪
1 149 RSD
Motorne testere
Prenosiva Testera za Kampovanje 🪚 Savršen alat za kampovanje i
Prenosiva Testera za Kampovanje 🪚 Savršen alat za kampovanje i preživljavanje, ova prenosiva testera omogućava brzo i efikasno sečenje drveća i grana, a može se lako spakovati i poneti. Idealna za ...
200 RSD
Motorne testere
Set zaptivki za mali dvotaktni motor – komplet - Višedelni set brtvi
Set zaptivki za mali dvotaktni motor – komplet - Višedelni set brtvi namenjen za sklapanje i zaptivanje malog benzinskog dvotaktnog motora (npr. motorne testere, trimera ili sličnih uređaja). - U ...
1 040 RSD
Motorne testere
Elektronski modul paljenja (bobina/ćelija paljenja) za motorne
Elektronski modul paljenja (bobina/ćelija paljenja) za motorne testere. Opis: - Komplet sadrži: bobinu/elektronski modul paljenja sa nosačem, visokonavodnik sa kapicom za svećicu, kao i dve instal...
Dogovor
Motorne testere
Lančanik (bubanj) kvačila za motorne testere – set Opis: - Komplet
Lančanik (bubanj) kvačila za motorne testere – set Opis: - Komplet lančanika/kvačila tipa bubanj sa zvezdom na vrhu - Uključuje: bubanj kvačila, zvezdasti/pogon lančanika (splined rim), i igličast...
380 RSD
Motorne testere
SVEĆICA ZA MOTOR – univerzalna svećica za benzinske motore malih
SVEĆICA ZA MOTOR – univerzalna svećica za benzinske motore malih mašina Opis: - Tip: klasična svećica sa centralnom i bočnom elektrodom - Navoj: standardni (šestougaoni ključ), keramička izolacija...
70 RSD
Motorne testere
Set cilindar–klip za dvotaktni motor Opis: - Komplet za remont
Set cilindar–klip za dvotaktni motor Opis: - Komplet za remont gornjeg dela motora, idealan za dvotaktne mopede, skutere, motorne testere i slične mašine. - U kompletu: cilindar sa rebrima za efik...
3 370 RSD
Motorne testere
Meteor Piston – set klipa za dvotaktne motore Opis proizvoda: -
Meteor Piston – set klipa za dvotaktne motore Opis proizvoda: - Komplet klipa renomiranog proizvođača Meteor Piston - Namenjen za dvotaktne agregate (motorne testere, trimere, skutere i slične mal...
200 RSD
Motorne testere
Klipni prstenovi – set 40 mm x 1.2 - Proizvođač: (na pakovanju
Klipni prstenovi – set 40 mm x 1.2 - Proizvođač: (na pakovanju označeno „High Quality Spare Parts – Piston Ring”) - Dimenzija: prečnik 40 mm, debljina 1.2 mm - Količina u pakovanju: 1 set (2 prste...
1 230 RSD
Motorne testere
Profesionalni lanac za motornu testeru - Tip: lanac za seču (Saw
Profesionalni lanac za motornu testeru - Tip: lanac za seču (Saw Chain – Professional) - Namenjen za motorke/lančane testere za profesionalnu upotrebu - Agresivni zubi za brzo i čisto sečenje - Ro...
Dogovor
Motorne testere
Vrsim otkup trimer i testera stanje nebitno
Vrsim otkup trimer i testera stanje nebitno
280 RSD
Motorne testere
Starter kalem (namotaj) – plastična špulna za povratnu oprugu -
Starter kalem (namotaj) – plastična špulna za povratnu oprugu - Namenjena za mehanizam startera motornih testera/trimerа; služi za navođenje i namotavanje kanapa i za prihvat povratne opruge. - Ma...
530 RSD
Motorne testere
Set zaptivki i membrana za karburator – 4 dela - Komplet uključuje
Set zaptivki i membrana za karburator – 4 dela - Komplet uključuje: membranu pumpe sa metalnim ventilom, zaptivku difuzora, zaptivku poklopca karburatora i distancnu/zaptivnu pločicu. - Namenjeno ...
Dogovor
Motorne testere
THORP vodilica za motorne testere - Robusna čelična vodilica sa
THORP vodilica za motorne testere - Robusna čelična vodilica sa precizno obrađenim šinom za stabilan i ravan rez - Kompatibilna sa standardnim lancima i glavama testera koje koriste klasičan dvost...
Dogovor
Motorne testere
Bubanj kvačila sa zupčanikom i igličastim ležajem za motorne testere
Bubanj kvačila sa zupčanikom i igličastim ležajem za motorne testere - Komplet sadrži: bubanj (spojnicu) kvačila sa zupčastom remenicom i igličasti ležaj za radilicu. - Namenjeno za prenos snage s...
1 300 RSD
Motorne testere
Testera sa vidija za sečenje drveća (300 mm, 60 zuba, 32 rupe) 🌳
Testera sa vidija za sečenje drveća (300 mm, 60 zuba, 32 rupe) 🌳 Testera sa vidija za sečenje drveća, dimenzije 300 mm, sa 60 zuba i 32 rupe. Idealna za precizno i efikasno sečenje drveća. 🔧 Cena...
520 RSD
Motorne testere
Set za reparaciju karburatora – dijafragme i iglica Opis: - Komplet
Set za reparaciju karburatora – dijafragme i iglica Opis: - Komplet delova za servisiranje membranskog karburatora malih benzinskih motora (trimeri, testere, duvači i sl.). - U paketu: membrane/di...