
8 000 RSD
FGN full face kaciga S, m, l Cena: 8000 din
FGN full face kaciga S, m, l Cena: 8000 din+381 62 5024xx
Niš
Bоја:
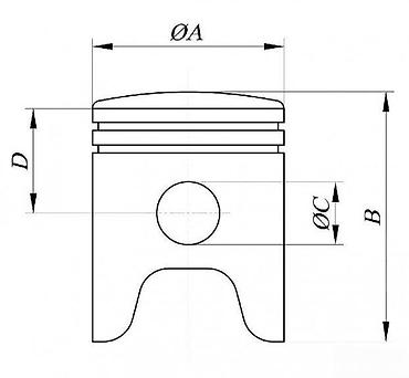
Klip set Meteor – za dvotaktne motore
Opis proizvoda:
- Proizvođač: Meteor (Italija)
- Tip: klip za dvotaktni motor
- U kompletu: klip, klipni prsten(ovi), klin (bolcn) i osigurači
- Materijal: visokokvalitetna aluminijumska legura sa preciznom obradom
- Geometrija glave: blago ispupčena (domed) sa dva kanala za prstenove
- Prozori/otvori na suknji klipa za poboljšan protok smeše (prelivi)
- Namena: zamena/obnova cilindra i klipne grupe na skuterima, mopedsima, motokultivatorima i drugim malim dvotaktnim agregatima
Prednosti:
- Precizne tolerancije za odličnu kompresiju i pouzdan hladan/topao start
- Otporan na habanje i visoke temperature
- Optimizovan balans mase za smanjene vibracije i mirniji rad
- Prstenovi obezbeđuju dobro dihtovanje i manju potrošnju ulja/mešavine
Napomena:
- Pre porudžbine proveriti prečnik cilindra (ØA), prečnik klina (ØC), ukupnu visinu (B) i visinu prstenova (D) prema tehničkom crtežu radi kompatibilnosti sa vašim motorom.
- Preporučuje se uparivanje sa ispravnim klipnjačnim ležajevima i pravilno docentriranje osigurača klina.
- Uvek podmazati i izvršiti pravilno razrađivanje nakon ugradnje.
2 300 RSD
Poslednji put viđen(a) pre 10 sata

8 000 RSD
FGN full face kaciga S, m, l Cena: 8000 din
FGN full face kaciga S, m, l Cena: 8000 din
500 EUR
El skuter nosivost 130 kg odlicno stanje prelazi 52 km sa jednim
El skuter nosivost 130 kg odlicno stanje prelazi 52 km sa jednim punjenjem i dostize brzinu 48km na sat
350 EUR
Električni skuter – kargo/utility tip - Boja: crna, niskog rama za
Električni skuter – kargo/utility tip - Boja: crna, niskog rama za lako uzjahivanje - Električni pogon u zadnjem točku (hub motor) - Veliki zadnji nosač tereta sa bočnim ojačanjima – pogodan za sa...
3 000 RSD
Kaciga za motor L velicine je potpuno ispravna u dobrom je stanju sa
Kaciga za motor L velicine je potpuno ispravna u dobrom je stanju sa sitnim travovima koristenja! Poluotvorena kaciga za skuter/motor – Sionic, srebrna metalik - ...
300 EUR
Skuter Peda (Peda Motors) – 50 ccm, dvotaktni
Skuter Peda (Peda Motors) – 50 ccm, dvotaktni
234 000 RSD
IBIKE CHOPPER SCOOTER, KAO NOVO, UNIKAT, IZUZETAN | Kao novo! ! !
IBIKE CHOPPER SCOOTER, KAO NOVO, UNIKAT, IZUZETAN | Kao novo! ! ! Izuzetan ibike scooter visokih performansi. Unikatan i redak primerak. Maksimalna brzina je 55kmh. Baterije traje 50km. U opisu u...
2 500 RSD
Tank pad stitnik cepa harley quinn Joker -kawasaki cep- 2670 📌 Opis
Tank pad stitnik cepa harley quinn Joker -kawasaki cep- 2670 📌 Opis: Nalepnice za Motore - 3d stikeri Kvalitet na prvom mestu!? ️ Suzuki GSXR komplet protektora – Savršena kombinacija zaštite i st...
6 000 RSD
BMW S1000 XR Komplet protektori - Nalepnice za motore-1791 📌 Opis
BMW S1000 XR Komplet protektori - Nalepnice za motore-1791 📌 Opis: Stikeri za motore Samolepljivi protektori za rezervoar izradjeni od kvalitetnih materijala, kako bi mogli da isprate sve krivine ...
370 EUR
Elektricni Skuter Moderna S Startan skuter Ne podleze nikakvu
Elektricni Skuter Moderna S Startan skuter Ne podleze nikakvu registraciju Motor prelazi oko 30 km Uz motor ide I orginalni punjac Baterije ok 48 v 14 ah Baterije dobre Skuter u voznom stanju pr...
1 000 RSD
Stikeri - honda cbr f štitnik čepa - stikeri za motore- 2202 📌 opis
Stikeri - honda cbr f štitnik čepa - stikeri za motore- 2202 📌 opis: nalepnice za motore - 3d stikeri kvalitet na prvom mestu! *¨ `*•. ¸ ¸. • *´ ¨ `*•. ¸ ¸. • *´ ¨ `*•. Budite originalni uz čiči d...
140 RSD
IPONE 2T polusintetičko ulje za dvotaktne motore – 100 ml - Namena
IPONE 2T polusintetičko ulje za dvotaktne motore – 100 ml - Namena: za dvotaktne motore skutera, mopeda, motocikala, trimera i sličnih mašina. - Tip: polusintetika za mešanje sa benzinom ili za si...
100 RSD
DID 520VX3 Gold – lanac za motocikle - Serija: Pro Street - Veličina
DID 520VX3 Gold – lanac za motocikle - Serija: Pro Street - Veličina: 520 - Model: VX3 - Boja/finish: Gold (zlatne spoljne pločice, crne unutrašnje) - Tip zaptivanja: X-Ring (VX) - Tehnologija: Di...
14 600 RSD
Bočni koferi za motocikl – set levi + desni sa nosačima -
Bočni koferi za motocikl – set levi + desni sa nosačima - Aerodinamični tvrdi koferi za touring/sport touring motocikle - Veliki kapacitet prtljaga; oblik prilagođen izduvu i zadnjem točku - Mater...
6 000 RSD
BMW S1000XR Komplet protektori za rezervoar - 2647 📌 Opis: Komplet
BMW S1000XR Komplet protektori za rezervoar - 2647 📌 Opis: Komplet protektora za rezervoar namenjen za BMW S1000XR izrađen je od visokokvalitetnog materijala sa carbon podlogom i atraktivnim crven...
4 850 RSD
Produžetak/pločica za bočnu nogaru motocikla (sidestand enlarger) -
Produžetak/pločica za bočnu nogaru motocikla (sidestand enlarger) - Širi oslonac nogare za stabilnije parkiranje na mekom terenu: pesak, šljunak, trava, vruć asfalt - CNC obrađen aluminijumski gor...
2 000 RSD
Millers Oils ZFS 4T 10W-50 – potpuno sintetičko ulje za četvorotaktne
Millers Oils ZFS 4T 10W-50 – potpuno sintetičko ulje za četvorotaktne motocikle, skutere i ATV vozila. - Tip: motorno/menjačko ulje za 4T agregate - Viskozitet: 10W-50 - Serija: ZFS 4T (Fully Synt...
1 090 RSD
IPONE M4 Motor Oil 20W50 – mineralno motorno ulje za četvorotaktne
IPONE M4 Motor Oil 20W50 – mineralno motorno ulje za četvorotaktne motocikle. - Viskozitet: 20W50 - Tip: mineralno ulje - Namenjeno za 4T motore (označeno 4T) - Specifikacije: JASO MA2 / API SJ - ...
32 190 RSD
LS2 Explorer – integralna/adventure moto kaciga - Tip: dual-sport
LS2 Explorer – integralna/adventure moto kaciga - Tip: dual-sport (on/off-road) sa šiltom i širokim vizirom - Materijal školjke: lagana kompozitna/polikarbonatna školjka visokog otpora udarcu - Ae...
13 200 RSD
Sportski maxi skuter – tamno siva boja, dinamičan dizajn sa oštrim
Sportski maxi skuter – tamno siva boja, dinamičan dizajn sa oštrim linijama i širokim vetrobranom za bolju zaštitu od vetra. Napred istaknute LED svetlosne grupe i kratki „beak“ krilo daju agresiva...
Dogovor
Tank pad štitnik čepa Yamaha R1 komplet -2442 📌 Opis: Nalepnice za
Tank pad štitnik čepa Yamaha R1 komplet -2442 📌 Opis: Nalepnice za motore - 3D Stikeri za motore Kvalitet na prvom mestu! 3D Tank Pad i Štitnik za Čep Rezervoara - Yamaha R1 Racing EditionDodajte ...
16 870 RSD
Termoscud pokrivač za skuter – originalni Tucano Urbano - Model sa
Termoscud pokrivač za skuter – originalni Tucano Urbano - Model sa integrisanim pokrivačem za noge i karoseriju, namenjen za celogodišnju vožnju po kiši, vetru i hladnoći - Vodootporan višeslojni ...
2 600 RSD
Motul 300V Factory Line Off Road 15W-60 – 100% sintetičko ulje za
Motul 300V Factory Line Off Road 15W-60 – 100% sintetičko ulje za četvorotaktne motore (4T), razvijeno za trkačke uslove. Formulacija sa ESTER Core tehnologijom za maksimalnu zaštitu i stabilnost f...
59 090 RSD
LS2 Thunder Carbon – integralna moto kaciga visokih performansi -
LS2 Thunder Carbon – integralna moto kaciga visokih performansi - Konstrukcija: školjka od karbonskih vlakana za odličan odnos čvrstine i težine. - Aerodinamika: sportski profil sa zadnjim spojler...
2 500 RSD
Tamno zatamnjeno vizir staklo za motociklističku kacigu - Tip
Tamno zatamnjeno vizir staklo za motociklističku kacigu - Tip: zamensko/spoljno vizir staklo - Boja/finish: tamno zatamnjeno (smoke/tint), štiti od jakog sunčevog odsjaja i poboljšava udobnost pri...
Dogovor
LS2 off-road/motokros kaciga – karbonska školjka, agresivan dizajn i
LS2 off-road/motokros kaciga – karbonska školjka, agresivan dizajn i vrhunska zaštita. - Školjka od karbonskih vlakana: izuzetno lagana i čvrsta, optimizovana za apsorpciju udarca. - Proširen vizi...
1 500 RSD
Suzuki tank pad 3d stiker za rezervoar nalepnice -2490 📌 opis
Suzuki tank pad 3d stiker za rezervoar nalepnice -2490 📌 opis: nalepnice za motore - 3d stikeri kvalitet na prvom mestu! Zaštitite rezervoar svog motocikla sa stilom uz suzuki tank pad dizajniran ...