PrijavaRegistracija

  • 0
  • 0

+381 62 5024xx

Klip Meteor – set za dvotaktne motore - Proizvođač: Meteor (Italija)

Niš

Klip Meteor – set za dvotaktne motore

- Proizvođač: Meteor (Italija)
- Tip: klip sa prstenovima za dvotaktne agregate
- U setu: klip, dva klipna prstena, osovinica (gudžon) i osigurači
- Materijal: aluminijumska legura visoke čvrstoće, CNC obrađena
- Oblik glave: blago ispupčena (performansni profil za bolji protok i kompresiju)
- Prirubnice i prozori obrađeni radi smanjenog trenja i bolje podmazanosti
- Kompatibilno sa cilindrima sa dva kompresiona prstena
- Namena: skuteri, mopedi, kros i druge male dvotaktne mašine (u skladu sa merama)

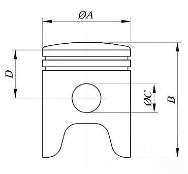
Pre kupovine proveriti dimenzije:
- Prečnik klipa (ØA) – prema oznaci cilindra
- Visina klipa (B)
- Visina do prvog prstena (D)
- Prečnik osovinice (ØC)

Prednosti:
- Precizne tolerancije za dobru kompresiju i dug vek
- Termička stabilnost i otpornost na habanje
- Prstenovi sa odličnim zaptivanjem i brzim naleganjem

Idealno rešenje za generalnu reparaciju ili unapređenje performansi dvotaktnih motora uz pouzdan kvalitet Meteor klipova.

Datum kreiranja: 10.04.2026
Datum ažuriranja: 10.04.2026
ID 112289633

Podelite sa prijateljima

4 800 RSD

+381 62 5024xx

Pogledajte srodne ponude