PrijavaRegistracija

  • 0
  • 0

+381 62 5024xx

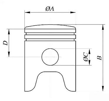
Klip Meteor – set za dvotaktne motore - Proizvođač: Meteor (Italija)

Niš

Klip Meteor – set za dvotaktne motore

- Proizvođač: Meteor (Italija)
- Tip: klip za dvotaktne agregate
- U kompletu: klip, klipnjača/bolcna (pin), osiguraci, karike (prstenovi)

Karakteristike:
- Precizna CNC izrada za optimalno naleganje u cilindru
- Legura aluminijuma visokih performansi, odlična toplotna provodljivost i mala masa
- Ojačane zone za bolcnu i kanale karika
- Profilisana kruna klipa za bolji protok i kompresiju
- Karike od kvalitetnog materijala sa povećanom otpornošću na habanje
- Namenjeno za pouzdan rad pri visokim obrtajima i temperaturama

Primenljivo za veliki broj dvotaktnih motocikala, skutera, kros i off-road motora, pila i ostalih malih motora koji koriste odgovarajuću dimenziju klipa. Proveriti prečnik klipa (ØA), prečnik bolcne (ØC), visinu klipa (B) i visinu do prve karike (D) prema tehničkom crtežu radi kompatibilnosti.

Datum kreiranja: 20.03.2026
Datum ažuriranja: 20.03.2026
ID 109835406

Podelite sa prijateljima

2 900 RSD

+381 62 5024xx

Pogledajte srodne ponude

  • Einhell + Wieshofer benzinski agregat za struju, model BS/S 2000 W 230
    Einhell + Wieshofer benzinski agregat za struju, model BS/S 2000 W 230

    80 EUR

    Agregati

    Einhell + Wieshofer benzinski agregat za struju, model BS/S 2000 W 230

    Einhell + Wieshofer benzinski agregat za struju, model BS/S 2000 W 230 V. Tehničke specifikacije sa pločice: - Tip: BS/S 2000 W 230 V - Naponski izlaz: 230 V, 50 Hz - Nazivna snaga generatora: 2 k...
  • Ležaj radilice 6203/10 (kavez od mesinga) – za dvotaktne motore -
    Ležaj radilice 6203/10 (kavez od mesinga) – za dvotaktne motore -

    2 660 RSD

    Agregati

    Ležaj radilice 6203/10 (kavez od mesinga) – za dvotaktne motore -

    Ležaj radilice 6203/10 (kavez od mesinga) – za dvotaktne motore - Tip: Dubokokuglični ležaj 6203/10 - Primena: Radilica dvotaktnih motora (ilustracija pokazuje poziciju ležaja s obe strane radilic...
  • Zavojnica paljenja (bobina) za skutere – zamenski deo - Tip
    Zavojnica paljenja (bobina) za skutere – zamenski deo - Tip

    2 700 RSD

    Agregati

    Zavojnica paljenja (bobina) za skutere – zamenski deo - Tip

    Zavojnica paljenja (bobina) za skutere – zamenski deo - Tip: zavojnica/kalem paljenja sa kablom i fajfom svećice - Funkcija: generiše visok napon za varnicu na svećici; deo sistema paljenja sa mag...
  • Klip set za motor – komplet - Komplet uključuje: klip, klipnjačin
    Klip set za motor – komplet - Komplet uključuje: klip, klipnjačin

    5 000 RSD

    Agregati

    Klip set za motor – komplet - Komplet uključuje: klip, klipnjačin

    Klip set za motor – komplet - Komplet uključuje: klip, klipnjačin (bolcnu), osigurače bolcne (2 kom) i set karika (kompresione i uljnu). - Materijal: legura aluminijuma sa obrađenim kliznim površ...
  • Univerzalna bobina/kalem paljenja za male benzinske motore - Tip
    Univerzalna bobina/kalem paljenja za male benzinske motore - Tip

    4 470 RSD

    Agregati

    Univerzalna bobina/kalem paljenja za male benzinske motore - Tip

    Univerzalna bobina/kalem paljenja za male benzinske motore - Tip: kalem paljenja (ignition coil) sa kablom i kapicom za svećicu - Kompatibilnost: većina malih dvotaktnih i četvorotaktnih benzinski...
  • Poklopac gorivnog filtera za dizel agregate – aluminijumsko kućište -
    Poklopac gorivnog filtera za dizel agregate – aluminijumsko kućište -

    650 RSD

    Agregati

    Poklopac gorivnog filtera za dizel agregate – aluminijumsko kućište -

    Poklopac gorivnog filtera za dizel agregate – aluminijumsko kućište - Namenjeno za sklopove filtera goriva (vidi šemu na slici) – deo gornjeg poklopca/kapice kućišta - Materijal: liveni aluminijum...
  • Par klackalica ventila (rocker arms) za motor – metalne, precizno
    Par klackalica ventila (rocker arms) za motor – metalne, precizno

    850 RSD

    Agregati

    Par klackalica ventila (rocker arms) za motor – metalne, precizno

    Par klackalica ventila (rocker arms) za motor – metalne, precizno obrađene dosedne površine i otvor za osovinu/ležaj u centru. Pogodne za OHV/OHC benzinske ili dizel agregate koji koriste klackalic...
  • Ventilator magneta (zamašnjak) za skuter – prečnik 137 mm, otvor 17 mm
    Ventilator magneta (zamašnjak) za skuter – prečnik 137 mm, otvor 17 mm

    5 700 RSD

    Agregati

    Ventilator magneta (zamašnjak) za skuter – prečnik 137 mm, otvor 17 mm

    Ventilator magneta (zamašnjak) za skuter – prečnik 137 mm, otvor 17 mm - Namena: hlađenje i prenos obrtaja na skuterima sa ventilatorom na magneta/zamašnjaku. - Dimenzije: - Spoljašnji prečnik: ...
  • Klip set za motor – komplet Opis proizvoda: - Klip od aluminijumske
    Klip set za motor – komplet Opis proizvoda: - Klip od aluminijumske

    600 RSD

    Agregati

    Klip set za motor – komplet Opis proizvoda: - Klip od aluminijumske

    Klip set za motor – komplet Opis proizvoda: - Klip od aluminijumske legure sa preciznom obradom i ojačanim mostovima - Prečnik klipa: standardna veličina (vizuelno za malu/średnju zapreminu cilind...
  • Ventili za motor (usisni i izduvni) – set od 2 komada - Tip: klipni
    Ventili za motor (usisni i izduvni) – set od 2 komada - Tip: klipni

    1 250 RSD

    Agregati

    Ventili za motor (usisni i izduvni) – set od 2 komada - Tip: klipni

    Ventili za motor (usisni i izduvni) – set od 2 komada - Tip: klipni motori, klasični taločni ventili sa pločom i drškom - Namena: usis i izduv gasa u glavi motora - Materijal: toplotno otporni čel...
  • Agregat na struju FS-9500 NOVO. Opis proizvoda: Snaga 5.5kW
    Agregat na struju FS-9500 NOVO. Opis proizvoda: Snaga 5.5kW

    80 000 RSD

    Agregati

    Agregat na struju FS-9500 NOVO. Opis proizvoda: Snaga 5.5kW

    Agregat na struju FS-9500 NOVO. Opis proizvoda: Snaga 5.5kW Opremljen OHV benzinskim motorom od 17 KS sa poteznicom Monofazni agregat sa 2X220V utičnicama Kapacitet rezervoara 25L Poseduje zašti...
  • Ulazni mrežasti filter ulja FIN4225 OF – Ruggerini - Originalni
    Ulazni mrežasti filter ulja FIN4225 OF – Ruggerini - Originalni

    700 RSD

    Agregati

    Ulazni mrežasti filter ulja FIN4225 OF – Ruggerini - Originalni

    Ulazni mrežasti filter ulja FIN4225 OF – Ruggerini - Originalni rezervni deo (Spare Parts), Made in Italy - Oznaka/model: FIN4225 OF - Tip: mrežasti uložak/čepni filter za ulje - Predviđen za moto...
  • Meteor Piston – klip set “Green Power” za dvotaktne motore. Opis
    Meteor Piston – klip set “Green Power” za dvotaktne motore. Opis

    3 000 RSD

    Agregati

    Meteor Piston – klip set “Green Power” za dvotaktne motore. Opis

    Meteor Piston – klip set “Green Power” za dvotaktne motore. Opis proizvoda: - Potpuni klip set za dvotaktne agregate - U kompletu: klip, karika, osovinica (klipnjača pin/gudgeon pin) i 2 seger osi...
  • Agregat na struju FS-9300 NOVO. Opis proizvoda: Snaga 3.1kW
    Agregat na struju FS-9300 NOVO. Opis proizvoda: Snaga 3.1kW

    38 000 RSD

    Agregati

    Agregat na struju FS-9300 NOVO. Opis proizvoda: Snaga 3.1kW

    Agregat na struju FS-9300 NOVO. Opis proizvoda: Snaga 3.1kW Opremljen OHV benzinskim motorom od 7 KS sa poteznicom Monofazni agregat sa 2X220V utičnicama Kapacitet rezervoara 15L Poseduje zaštit...
  • Filter vazduha za benzinske motore – ovalni, sa dva ulazna otvora -
    Filter vazduha za benzinske motore – ovalni, sa dva ulazna otvora -

    620 RSD

    Agregati

    Filter vazduha za benzinske motore – ovalni, sa dva ulazna otvora -

    Filter vazduha za benzinske motore – ovalni, sa dva ulazna otvora - Tip: papirni plisirani element sa gumiranim okvirom - Oblik: ovalni, sa dva okrugla otvora na gornjoj strani (dupli usis) - Prim...
  • Klip set za dvotaktne motore – komplet Sadržaj kompleta: - Klip
    Klip set za dvotaktne motore – komplet Sadržaj kompleta: - Klip

    730 RSD

    Agregati

    Klip set za dvotaktne motore – komplet Sadržaj kompleta: - Klip

    Klip set za dvotaktne motore – komplet Sadržaj kompleta: - Klip (obrada visokog kvaliteta) - Klipni prstenovi - Klipnjača/bolcn (gudžon) sa otvorom za podmazivanje - Osigurači (segeri) - Originaln...
  • Klip set za dvotaktne motore – prečnik 41,5 mm, klipnjača (pin) 12 mm
    Klip set za dvotaktne motore – prečnik 41,5 mm, klipnjača (pin) 12 mm

    750 RSD

    Agregati

    Klip set za dvotaktne motore – prečnik 41,5 mm, klipnjača (pin) 12 mm

    Klip set za dvotaktne motore – prečnik 41,5 mm, klipnjača (pin) 12 mm. Sadržaj kompleta: - Klip Ø41,5 mm - Klipnjača/pin 12 mm - Dva klipna prstena - Dva osigurača pina - Originalno pakovanje (šif...
  • Klip set za motor – komplet Sadrži: - aluminijumski klip sa mašinski
    Klip set za motor – komplet Sadrži: - aluminijumski klip sa mašinski

    1 140 RSD

    Agregati

    Klip set za motor – komplet Sadrži: - aluminijumski klip sa mašinski

    Klip set za motor – komplet Sadrži: - aluminijumski klip sa mašinski obrađenim vrhom - klipnjačni (gudgeon) pin - 2 osigurača za pin (segeri) - set karika: 2 kompresione karike, 1 uljna karika (sa...
  • Komplet zaptivki za motor – set - Višedelni set zaptivki od
    Komplet zaptivki za motor – set - Višedelni set zaptivki od

    190 RSD

    Agregati

    Komplet zaptivki za motor – set - Višedelni set zaptivki od

    Komplet zaptivki za motor – set - Višedelni set zaptivki od kompozitnog materijala (presovana vlakna/papirna masa), uz jednu gumenu zaptivku - Uključuje zaptivke za: glavu/cilindar, poklopac kućiš...
  • Filter goriva FINIMPIANTI FIN4226 FE (DN 820 – Clean Filters) - Tip
    Filter goriva FINIMPIANTI FIN4226 FE (DN 820 – Clean Filters) - Tip

    950 RSD

    Agregati

    Filter goriva FINIMPIANTI FIN4226 FE (DN 820 – Clean Filters) - Tip

    Filter goriva FINIMPIANTI FIN4226 FE (DN 820 – Clean Filters) - Tip: uložak/kartus filtera za gorivo - Proizvođač: Finimpianti (Italy) - Oznake na kutiji: FIN4226 FE, Ruggerini 175 23 - Oznake na ...
  • AKCIJA DO ISTEKA ZALIHA! ⏳🏷️ Nov agregat FISHER GERMANY!! 🇩🇪💡
    AKCIJA DO ISTEKA ZALIHA! ⏳🏷️ Nov agregat FISHER GERMANY!! 🇩🇪💡

    300 EUR

    Agregati

    AKCIJA DO ISTEKA ZALIHA! ⏳🏷️ Nov agregat FISHER GERMANY!! 🇩🇪💡

    AKCIJA DO ISTEKA ZALIHA! ⏳🏷️ Nov agregat FISHER GERMANY!! 🇩🇪💡 Cena 300€💰💶 SNAGA 9.5KW(9500W) 💪⚡ motor GX 200 benzinac 4T ⛽🛠️ Potrosnja 6L-12H ⏳💧 3 monofazne i 1 trofazna uticnica 🔌🔌 P...
  • Radilica za dvotaktni motor – precizno obrađena, čelična, balansirana
    Radilica za dvotaktni motor – precizno obrađena, čelična, balansirana

    13 800 RSD

    Agregati

    Radilica za dvotaktni motor – precizno obrađena, čelična, balansirana

    Radilica za dvotaktni motor – precizno obrađena, čelična, balansirana sa dve ramene ploče. - Klinasto/rezbareno ležište za polutku spojnice sa jedne strane i navojni kraj sa druge strane za fiksir...
  • AKCIJA NOVO na stanju Fischer Kraft FS9600W benzinski agregat za
    AKCIJA NOVO na stanju Fischer Kraft FS9600W benzinski agregat za

    280 EUR

    Agregati

    AKCIJA NOVO na stanju Fischer Kraft FS9600W benzinski agregat za

    AKCIJA NOVO na stanju Fischer Kraft FS9600W benzinski agregat za struju – Professional Generator - Snaga: 9600 W (navedeno na uređaju) - Motor: GX200, 4-taktni, zapremina 196–197 cc (163–196 cc oz...
  • Aluminijumski poklopac/kućište zadnjeg ležaja alternatora - Tip
    Aluminijumski poklopac/kućište zadnjeg ležaja alternatora - Tip

    1 800 RSD

    Agregati

    Aluminijumski poklopac/kućište zadnjeg ležaja alternatora - Tip

    Aluminijumski poklopac/kućište zadnjeg ležaja alternatora - Tip: prednja/zadnja ploča (end cover) sa ležajnim ležištem i rupama za montažu - Materijal: liveni aluminijum – lagan, otporan na korozi...
  • Fischer Kraft FS9600W benzinski agregat za struju – Professional
    Fischer Kraft FS9600W benzinski agregat za struju – Professional

    285 EUR

    Agregati

    Fischer Kraft FS9600W benzinski agregat za struju – Professional

    Fischer Kraft FS9600W benzinski agregat za struju – Professional Generator - Snaga: 9600 W (navedeno na uređaju/kutiji) - Motor: GX200, jednocilindrični, 4-taktni, 196–212 cc (oznake 163 cc displa...